光学比较器

自动、即时测量系统,可在数秒内提供高精度、可重复的测量数据;只需将一个部分放在舞台上,并按下一个按钮!数以百计的关键特性可以在系统视场的任何地方进行标注。内置的自动边缘检测软件允许所有操作者之间的测量保持一致,并消除主观性。这个用户友好的工具可以被任何人用来恭维您的质量控制过程,无论它是在实验室或在车间使用。
阵容
特性
自动测量多达300个零件特征在秒
任何人都可以测量一个零件,只要把它放在舞台上,按下一个按钮。
无论操作人员的技能如何,该设备都能立即提供精确和可重复的测量。
把这个角色放到舞台上

02 |按按钮

03 |测量300个功能在秒

测量小,大,三维部件
旋转单元与先进的检测能力,支持广泛的形状。三维零件可以被精确测量。
加工件
螺丝和螺栓
按下
注射模制品
连接器
特性
操作简单,精度高
操作常规测量显微镜和光学CMMS掌握掌握

LM系列解决了所有这些传统问题,允许任何人轻松准确地操作它

金属切削部分
允许清除表面边缘切割检查。

IM系列即时测量系统是一种自动光学比较器,可以在3秒或更少的时间内进行多达99个维度的测量,只需按一个按钮。该装置还自动记录测量数据,并创建详细的检查报告。我们最新的IM-7030T型号有一个8x12”的测量区域,用于大的或更多的空间用于多个小部件。该单位也有内置的自动高度测量z轴测量。
光学比较器是一种光学测量仪器。测量原理与光学显微镜相似。目标被放置在舞台上,一盏灯从下面照射目标。这将导致目标的轮廓或阴影投射到屏幕上。一个远心光学系统被用来进行精确的测量。
最初开发了光学比较器以检查目标轮廓。稍后会出现配备测量功能的型号。一些大型光学比较器具有超过1米的屏幕直径。
光学比较器通常也被称为轮廓投影仪或影子图。
光学比较器原理(远心光学系统)
一个典型的光学比较器从下面照明,并通过投影透镜将放置在舞台上的测量对象的阴影投射到投影屏幕上。因此,它也被称为轮廓投影仪或影子图。
此时,投影图像的大小是被测量物体以正确的放大倍数放大后的图像,通过测量该图像来测量被测量物体的尺寸。
光学比较器中使用称为“远心系统”的光学系统,使其可以从舞台上的任何位置突出。通过一般镜头,近物体看起来很大,远处物体显得很小,这使您可以判断透视图。相反,电视镜头突出相同的近距离尺寸。
这个远心镜头允许你在正确的放大倍数下投射物体的阴影,而不会使图像变形。

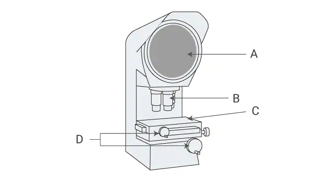
答:投影屏幕,B:投影镜头,C:可移动级,D:舞台运动处理(x和y手柄)
注意事项、维护和校准
传统的光学比较器需要定期维护,以便连续准确地进行测量。由于工具通常太大,无法送去进行定期维护,因此维修通常由技术人员在现场进行。
此外,需要定期校准,以确认精度是规定的。光学比较器的校准周期为6个月至3年。与维护一样,校准通常在当地进行。
光学比较器的优点
光学比较器的主要特征是它们具有二维测量能力(x和y方向),与手动工具不同,如微米,vernier卡尺或高度/深度仪,其一次仅在一个方向上仅测量。
它的好处是,与单向手动工具相比,它可以使检查人员的输出翻倍。操作人员可以将图像的左下角与屏幕中心线对齐,以建立原点,同时读取长度和宽度,这有助于简化检查过程。
光学比较器使用非接触式测量,不会扭曲测量柔性部件或损坏敏感部件。在检查过程中,只有光接触到零件,所以零件不会有任何变形或改变形状的可能性。
除了部分完整性之外,非接触式压力表的一个主要好处是,它还消除了手动压力表的“感觉因素”和导致的人为错误。去掉这种主观性后,公司可以看到测量值一致性的改善。
公司可以通过使用光学比较器看到成本效益。一种方法是,他们可以通过光学比较器减少检查时间,测量速度比传统的手持测量。
随着时间的推移和吞吐量增加,可能对盈利能力产生重大影响。另一种成本储蓄呈现出艰难仪表的形式。通过更多地使用光学方法,您大大减少了硬仪的磨损。还具有更多的磨损和定期重新认证,还需要在这些下降期间使用额外的替代工具,现在可以通过光学方法消除。
将物体放在舞台上。
将刻度应用于屏幕上放大的图像以测量尺寸。或者,您可以将XY阶段一起使用并测量从运动量的尺寸。
一种具有计算机化计算功能的光学比较器,可以通过在移动阶段的同时采取测量点来获得各种测量结果,例如宽度,直径和角度。
如何测量长度/宽度
将测量对象放置在屏幕上,调整表的高度以对焦。
接下来,将投影图像上要测量的一侧的方向与屏幕参考线的方向对齐,并将XY舞台的值调整为0。
接下来,使用舞台移动手柄移动阶段,并用屏幕参考线测量投影图像的另一侧。
此时,舞台在X和Y方向上的移动量就会显示出来,所以这个值就变成了测量值。在只在一个方向进行简单测量的情况下,只使用X或Y方向的移动量。
如何测量半径/直径
将测量对象放置在屏幕上,调整表的高度以对焦。
接下来,将投影图像上圆的中心点与屏幕参考线的公共点对齐。
在半径的情况下,在这里取0个点并移动舞台,以检查在舞台中心的圆边缘处的移动量。对于直径的情况,将舞台从这里移动一次到圆的边缘,取0点,然后移动到对边,检查移动量。在这两种情况下,在十字形状的四个方向上测量是常见的。
也有可能通过在屏幕上应用一个被称为“图表”的同心刻度表来进行测量。
在具有计算函数的光学比较器的情况下,通过在圆边上采用三个测量点来自动计算直径和半径。
如何测量角度
有几种测量角度的方法。
一种检查舞台旋转量的方法,将投影图像的直线对准屏幕的参考线,使舞台沿θ方向旋转。
通过屏幕上的Protractor,通过将称为“图表”的纸张置于称为“图表”的纸张,存在一种检查方法。
在具有计算功能的光学比较器上,通过指定两条直线来计算角度。
如何使用叠加
图表有几种类型。
测量直径和半径有同心圆标记,测量角度有径向标记,两者都有。此外,一些刻度被写在网格中以查看XY坐标值。两者都被放置在屏幕上,通过与投影图像匹配来测量。

光学比较器案例研究
医疗行业
参见将IM系列自动光学比较器应用于其检查过程的医疗公司的案例研究和白皮书。许多医疗公司需要FDA的认证才能使用,所以KEYENCE在他们的专业支持人员的帮助下,把通常困难的工作变得又快又容易。示例应用包括医用油管、支架、针头、小瓶、矫形螺钉等。
航空航天和国防工业
参见航空航天和国防公司的案例研究和白皮书。系统内置的SPC软件自动收集数据并生成详细的检测报告,以帮助满足AS9100的需求。实例应用包括精密加工和转动的部件,如法兰和紧固件。
汽车行业
参见汽车公司的案例研究和白皮书。公司利用IM系列来满足生产部件批准过程(PPAP)的设计和规格要求。示例应用包括电气连接器,弹簧/冲压件,o形环,齿轮,阀门等。
有关光学比较器的常见问题
设计了用于视觉二维检测的光学比较器。由于这个原因,部件需要重新定向和重新测量三维特征。另一种方法是结合使用光学比较器、卡尺/千分尺和高度计等工具。例如;您可以使用光学比较器测量任何二维特征,但然后将该部分移动到高度计,以得到任何所需的高度或深度。最终的测量结果可以手工写在报告上,也可以输入到现有的报告平台中。
KEYENCE的IM系列自动光学比较器可以在3秒或更短的时间内测量出一个零件的99个尺寸,只需按下一个按钮即可达到+/- 2微米的精度。一旦零件被测量,系统会自动记录数据并生成检测报告。我们最新的设备有内置高度测量Z轴。与传统的光学比较器相比,公司发现检测时间、操作人员的主观性、报废和返工都显著减少。其优点是测量速度快,精度高,易于使用。
固定装置
用于光学比较器的夹具用于将被测物体固定在正确的方位上。例如,一个圆形物体可以通过夹紧它来水平固定,或者用于固定底部表面在适合测量的方向上不平坦的物体。
有各种类型的固定装置,包括夹子,夹子和磁铁。
聚酯薄膜覆盖图
叠加图是通过将其与投影在屏幕上的测量图像进行匹配来使用的。图表有多种类型。例如,通常使用具有网格或同心尺度的网格。
另外,通过将测量目标的设计值叠加在相同的放大率下叠加的图表图表,可以通过将其叠加在投影图像上,了解设计值的轮廓与实际测量目标的不同之处。
表面照明
光学比较器不仅可以从下方照射并传输光以产生阴影,但也可以从上方(镜头侧)亮起到项目轮廓。
即使仅使用透射(背光)图像难以测量测量目标,也可以使用外延照明对其进行测量。
窗帘
停电窗帘用于阻挡来自外部的光。它用于通过阻塞环境光更准确地突出形状。




