LED照明视觉系统外围设备CA-D系列
低角度灯具有较浅的入射角的相对LED可提供低角度照明。
CA-DLR
应用
表面/边缘芯片
通常,由于几乎没有对比度的变化,因此很难通过标准照明检测表面和边缘缺陷。低角度的光突出了目标检测的物理变化。
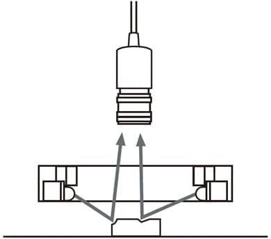
低角度照明技术
低角度照明以浅角度向目标提供直接光。通常,很难通过标准直接照明来检测表面上目标边缘或物理缺陷的边缘。由于光的方向几乎平行于表面的任何变化,因此表面高度的任何变化都会偏向照相机的正常路径,然后突出显示变化。
摄像机/灯光布置
应用
边缘
带有标准照明
低角度照明
嘴唇不均匀
带有标准照明
低角度照明
